近日,我们在国家知识产权局获取了小米汽车关于“电池、车身一体化技术”的新专利,该专利申请人为小米汽车科技有限公司,申请公布日是2023年11月28日,据悉可适用于小米的纯电动汽车、插电式混合动力汽车。


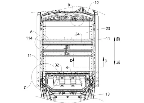
小米汽车的这项新专利是将电池和车身底盘结合了起来,在车身两个门槛梁上设置电池包安装部,然后将电池包壳主体与安装部连接,电池包横梁集成在壳主体的顶部并与车身连接,使得电池包的壳主体的顶部用作车辆的地板面板。
根据专利申请书可以了解到,小米汽车之所以要发明这项专利,是因为传统的新能源汽车需要配备电池包壳体和车身地板面板,这两种板状结构面积大、重量大,影响车子的轻量化,或导致车辆的续航里程大打折扣。此外,电池壳顶部和地板面板之间需要预留安全间隙,会导致车辆空间利用率下降,不仅车内空间缩小,也无法安装能量密度高的电池。


而小米汽车这项专利让电池壳顶部既能作为电池壳,又能作为汽车的地板面板,进一步提升了车辆的集成化程度,不仅让车身重量下降,也能让底盘空间更宽敞,可配备容量更大的电池组以提升车辆的续航里程。
此外,小米的车身、电池一体化技术可以减少电池包在车辆行驶时产生的晃动、震动,横梁也能加强电池壳的稳定性,专门的设计可以让横梁分散外力的冲击,提升车辆的安全性。

目前市面上已经有许多车型搭载了CTB\CTC电池车身一体化技术,以比亚迪为例,海豹(图片|配置|询价)是比亚迪旗下首款搭载CTB技术的车型,日前一辆海豹汽车发生严重的碰撞事故,车身几乎快被压扁,车头、车身均损毁严重,但电池愣是没有冒烟、没有起火,据悉驾驶员也只是受了轻伤,网友纷纷表示CTB技术立大功。

由此看来,相较于传统的车身结构而言,车身、电池一体化技术的重要性还是很明显的,不过也有网友表示采用这种技术就意味着小米汽车不支持换电了,这让很多期待小米汽车能换电的用户感到失望。
渝公网安备50010502503425号
评论·0