背景技术:
以往在齿轮齿条式转向装置中,方向盘的旋转经由转向轴传递至小齿轮轴,通过小齿轮轴与齿条轴的啮合,齿条轴在车宽方向移动,使作为转向轮的前轮转向。在这种转向装置中,存在一种电动式助力转向装置,根据通过传递至小齿轮轴的扭矩而扭转的扭杆的扭转量,检测转向操纵扭矩,通过电动马达产生与检测出的转向操纵扭矩对应的转向操纵辅助力。
转向操纵扭矩被输入的输入轴和具有与齿条轴啮合的小齿轮的输出轴通过扭杆连接。输入轴是在从其下端至上端附近之间的轴心部具备空洞的中空轴,在空洞收容有扭杆的一个端部。向输入轴固定扭杆通过朝向沿径向贯通输入轴和扭杆的端部的贯通孔打桩设置销来进行。在扭杆的外周配置有将扭杆的扭转量作为转向操纵扭矩进行磁性检测的扭矩传感器,扭矩传感器收容在传感器壳体。
在从传感器壳体的外部调整输入轴的旋转位置进行了扭矩传感器的零点调整之后,通过销将扭杆固定于输入轴。根据其必要性,用于打桩设置销的贯通孔设置于从传感器壳体的上侧开口向上方突出的部分。而且为了阻止水分等从贯通孔进入,在输入轴安装的作为罩部件的防尘罩覆盖贯通孔的开口。防尘罩为橡胶制,具有具备与输入轴的外周面紧贴的内周面的圆筒部和覆盖传感器壳体的上侧开口来抑制异物进入传感器壳体内的圆盘状的伞部。
为了提高转向操纵扭矩的检测精度,优选延长扭杆增大扭转量。此时用于打桩设置销的贯通孔和传感器壳体的上侧开口的距离延长,需要延长防尘罩的圆筒部。但是防尘罩的圆筒部延长则存在如下情况,即因将防尘罩压入输入轴来安装时的防尘罩的内周面与输入轴的外周面的摩擦阻力,圆筒部容易屈曲,安装困难。此外若简单地缩小防尘罩相对于输入轴的紧固量,来减小防尘罩安装时的摩擦阻力,则担忧无法获得充分的防水性。
为此,捷太格特发明专利提供一种转向装置,包括小齿轮轴、输入轴、扭杆、固定销、壳体和罩部件。小齿轮轴与齿条轴啮合,输入轴与转向操纵操作相应地旋转,扭杆连结输入轴与小齿轮轴,固定销将扭杆固定于输入轴,壳体具有收容输入轴的一部分的第一收容部,罩部件具有外嵌于从第一收容部突出的输入轴的圆筒部和覆盖第一收容部的端面的圆盘部。在输入轴形成有供固定销插入的贯通孔。在罩部件的圆筒部中,除与贯通孔的开口对置的部位之外,在部位的轴向一侧和另一侧设置有多个环状唇部。因此即便安装在输入轴的罩部件的圆筒部的长度延长,在罩部件安装时,也难以产生圆筒部的弯曲。
本发明应用于齿条辅助式的电动助力转向装置的情况,齿条辅助式的电动助力转向装置通过减速机构对电动马达的输出轴的旋转减速,并将其作为转向操纵辅助力施加于齿条轴,但不限定于此,例如也可以将本发明应用于将转向操纵辅助力施加于小齿轮轴的小齿轮辅助式的电动助力转向装置。
双小齿轮式电动助力转向器:通过蜗轮蜗杆减速器将电机的旋转运动转化为齿条的直线运动。

双小齿轮式电动助力转向器:DP-EPS。
产品特点:适合中型车辆的理想转向解决方案;支持智能驾驶以及未来高度自动驾驶,提高安全性;网络安全:防止外部未经授权访问的系统架构;通过可扩展的组件系列进行性能优化配置;保证出色转向手感。
转向装置的组成:
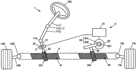
转向装置包括转向轴、输入轴、小齿轮轴、扭杆、扭矩传感器、齿条轴、转向操纵辅助装置,转向装置还包括壳体和罩部件,输入轴、小齿轮轴、扭杆、齿条轴、壳体和罩部件构成转向器总成。转向轴在一个端部固定有驾驶员进行转向操纵操作的方向盘,输入轴经由转向轴被传递转向操纵扭矩,小齿轮轴具有小齿轮齿,作为扭转轴的扭杆连结输入轴和小齿轮轴,扭矩传感器将扭杆的扭转量作为转向操纵扭矩进行磁性检测,作为转向的齿条轴与小齿轮轴的小齿轮齿啮合而在车宽方向进行进退移动,转向操纵辅助装置通过扭矩传感器检测出的转向操纵扭矩对齿条轴施加转向操纵辅助力。

11、转向轴,21、输入轴,22、小齿轮轴,221-541、小齿轮齿,23、扭杆,3、扭矩传感器,4、齿条轴。
齿条轴包括第一齿条齿和第二齿条齿,小齿轮轴的小齿轮齿与齿条轴的第一齿条齿啮合,转向操纵辅助装置的小齿轮轴也具有小齿轮齿,该小齿轮齿与齿条轴的第二齿条齿啮合。齿条轴通过与两小齿轮齿的啮合在沿车宽方向的轴向移动,通过轴向的移动使前轮转向。齿条轴的两端部经由球接头与左右的横拉杆分别连结,左右的横拉杆与左右的前轮分别连结。若齿条轴在车宽方向移动,则左右的横拉杆分别相对于齿条轴摆动,将左右的前轮分别转向。

111、柱轴,113、中间轴,12、球接头,13、横拉杆,41-42、齿条齿,5、辅助装置,6、壳体,7、罩部件。
转向轴包括柱轴和中间轴,柱轴在一个端部固定有方向盘,中间轴经由万向节与柱轴的另一个端部连结。输入轴经由万向节与中间轴连结,根据方向盘的转向操纵操作旋转。扭杆根据方向盘的转向操纵扭矩扭转,随着转向操纵扭矩变大,扭杆的扭转量变大。

112-114、万向节,51、装置,52、马达,521、输出轴,53、减速机构,531、蜗杆,532、蜗轮,54、小齿轮轴。
转向操纵辅助装置包括控制装置、电动马达、减速机构和小齿轮轴,控制装置能够获取扭矩传感器的检测信号,电动马达通过从控制装置输出的马达电流产生转向操纵辅助力,减速机构对电动马达的输出轴的旋转减速,小齿轮轴通过利用减速机构减速的电动马达的扭矩而旋转。减速机构由与电动马达的输出轴连结为一体旋转的蜗杆和与蜗杆啮合的蜗轮构成,蜗轮与小齿轮轴一起旋转。
壳体包括第一收容部、第二收容部和第三收容部,第一收容部将小齿轮轴和扭矩传感器,与输入轴和扭杆的一部分一起收容,第二收容部沿车宽方向延伸收容齿条轴,第三收容部将小齿轮轴与减速机构一起收容。第一收容部由收容小齿轮轴的筒状部和嵌合固定于筒状部并收容扭矩传感器的传感器外壳构成。筒状部、第二收容部和第三收容部通过铝压铸成型为一体。

211-212、输入轴的上-下端部,211a、细齿,61-63、第一-三收容部,611、筒状部,612、传感器外壳。
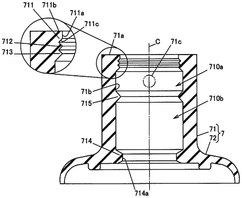
传感器外壳由在聚丙烯中添加用于提高刚性的玻璃纤维而成的热塑性树脂构成,通过射出成型形成。在传感器外壳的上端部收容有具有金属芯和密封件的密封圈,密封圈能够与罩部件一起阻止异物侵入传感器外壳内。输入轴插通于传感器外壳,输入轴的上端部从传感器外壳向上方突出。罩部件压入嵌合于从传感器外壳突出的输入轴的外周,并且以覆盖输入轴在传感器外壳中的导出部的方式配置。在输入轴的上端部形成有与万向节结合的细齿。传感器外壳内部上下隔着扭矩传感器的位置,配置有第一轴承和第二轴承。第一轴承配置在扭矩传感器的上方,将输入轴支承为能够旋转。第二轴承配置在扭矩传感器的下方,与配置在筒状部的底部的第三轴承一起将小齿轮轴支承为能够旋转。

210-220、嵌合孔,24、固定销,90、密封圈,901、金属芯,902、密封件,91-93、轴承。
在输入轴形成有在其下端部开口且向上端部侧延伸的嵌合孔,在嵌合孔嵌合有扭杆的上端部。扭杆的上端部通过圆柱状的固定销以无法相对旋转的方式固定于输入轴。扭杆的下端部通过向小齿轮轴形成的嵌合孔的花键嵌合,与小齿轮轴结合为无法相对旋转。扭杆从输入轴向小齿轮轴传递转向操纵扭矩,并且具有根据转向操纵扭矩而扭转的弹性。输入轴和小齿轮轴由碳钢等铁系金属构成,扭杆由弹簧钢构成。随着方向盘的旋转,输入轴和小齿轮轴以旋转轴线为中心旋转。
扭矩传感器包括环状磁铁、集磁环组件和磁轭组件,环状磁铁具有多个磁极,固定于输入轴,集磁环组件固定于传感器外壳,磁轭组件通过环状的轴环固定于小齿轮轴。集磁环组件具有磁场检测元件。若扭杆通过转向操纵扭矩扭转,则环状磁铁和磁轭组件相对转动,其结果是在集磁环组件内通过的磁场的强度变化。而且通过磁场检测元件捕捉磁场的强度的变化,检测转向操纵扭矩。扭矩传感器的检测信号输出至控制装置。

31、环状磁铁,32、集磁环组件,321、磁场检测元件,33、轴环,34、磁轭组件。
固定销通过压入而被插入在输入轴形成的贯通孔和在扭杆形成的贯通孔。输入轴的贯通孔形成在从传感器外壳的开口端面突出的部分,在输入轴的直径方向贯通输入轴。扭杆的贯通孔与输入轴的贯通孔连通,在扭杆的上端部的直径方向贯通扭杆的上端部。固定销从输入轴的贯通孔中位于两端的开口中的一个开口插入,贯通扭杆的贯通孔。

21a-23a、输入轴的贯通孔和扭杆的贯通孔,231-232、扭杆的上-下端部。
罩部件包括外嵌于从传感器外壳突出的输入轴的圆筒部和覆盖传感器外壳的开口端面的伞状圆盘部,圆盘部从圆筒部的下端部向外径侧突出。罩部件由氯丁橡胶等橡胶部件构成,罩部件通过压入固定在输入轴的外周,与输入轴一起旋转。在压入罩部件时,使圆筒状的夹具的端面与圆筒部的上端面抵接,将罩部件朝向传感器外壳侧在轴向按压。

71a、上端面,71、圆筒部,711-715、第一至五环状唇部,72、伞状圆盘部。
插入有固定销的输入轴的贯通孔在圆筒部所覆盖的部分的输入轴的外周面具有开口。在罩部件的圆筒部的内表面设置有顶部与输入轴的外周面弹性接触且沿周向延伸的第一至五环状唇部。其中,第一至三环状唇部在比输入轴的贯通孔更靠上方的位置沿轴向相互邻接设置。
综上所述:转向装置包括转向轴、小齿轮轴、输入轴、扭转轴、固定销、壳体以及罩部件,转向轴具有齿条齿,通过轴向的移动使车辆的转向轮转向。小齿轮轴在一个端部具有与齿条齿啮合的小齿轮齿。输入轴与方向盘的转向操纵操作相应地旋转。扭转轴连结输入轴与小齿轮轴,根据方向盘的转向操纵扭矩而扭转。固定销将扭转轴的一个端部以无法相对旋转的方式固定于输入轴。壳体具有第一收容部和第二收容部,第一收容部将小齿轮轴和输入轴以及扭转轴的一部分一起收容,第二收容部收容转向轴。罩部件具有圆筒部和圆盘部,圆筒部外嵌于从第一收容部突出的输入轴,圆盘部覆盖第一收容部的开口端面。
扭转轴的一个端部嵌合于在输入轴形成的嵌合孔,并且扭转轴通过固定销插入在输入轴和扭转轴分别形成的贯通孔,而以无法相对旋转的方式固定于输入轴,输入轴的贯通孔在罩部件的圆筒部所覆盖的外周面开口,在罩部件的圆筒部的内表面,设置有顶部与输入轴的外周面弹性接触且沿周向延伸的多个环状唇部,除与输入轴的贯通孔的开口对置的部位之外,在该部位的轴向一侧和另一侧设置有多个环状唇部。因此根据本发明的转向装置,即便安装在输入轴的罩部件的圆筒部的长度延长,在罩部件安装时,也难以产生圆筒部的弯曲。
总结:
捷太格特转向装置包括小齿轮轴、输入轴、扭杆、固定销、壳体和罩部件。小齿轮轴与齿条轴啮合,输入轴与转向操纵操作相应地旋转,扭杆连结输入轴与小齿轮轴,固定销将扭杆固定于输入轴,壳体具有收容输入轴的一部分的第一收容部,罩部件具有外嵌于从第一收容部突出的输入轴的圆筒部和覆盖第一收容部的端面的圆盘部。在输入轴形成有供固定销插入的贯通孔。在罩部件的圆筒部中,除与贯通孔的开口对置的部位之外,在部位的轴向一侧和另一侧设置有多个环状唇部。因此即便安装在输入轴的罩部件的圆筒部的长度延长,在罩部件安装时,也难以产生圆筒部的弯曲。
渝公网安备50010502503425号
评论·0